锂渣是金属锂在冶炼过程中产生的工业固体废弃物,综合利用锂渣具有十分重要的现实意义。以锂渣为添加剂,研究了其掺入量对生料易烧性的影响规律,使用XRD与SEM等测试技术表征了不同熟料的相组成与微观结构,并结合水泥胶砂试样抗压强度及孔隙结构特征的变化规律,揭示了锂渣改善硅酸盐水泥熟料质量的机理。结果表明:当锂渣掺入量为5%(质量分数)时,水泥熟料具有最佳的水化性能;胶砂试样养护3、28、90d后,抗压强度分别为38.16、58.35、75.61MPa。锂渣的掺入丰富了生料中K₂O、Na₂O与TiO₂等氧化物的含量,降低了液相的黏度,这不仅显著促进了CaO的溶解,加速了水泥熟料的烧成,而且有助于C₃S和C₃A的生成。此外,锂渣中的Al³⁺通过置换C₃S和C₂S中的Si⁴⁺提高物相的水化活性。故锂渣的掺入显著改善了胶砂制品的致密度,减少了胶砂试样中的多害孔与有害孔数量,进而赋予试样理想的抗压强度。研究结果为锂渣的综合利用提供了理论基础和技术支持。
金属锂凭借优异的物理化学性能被广泛用于航空、光学与储能领域。随着中国电子产业和新能源汽车行业的快速发展,金属锂的需求日益增长,导致其主要赋存矿物—锂云母矿被大量选别。选别出的锂云母精矿经高温煅烧、机械磨碎和化学浸出后能富集大多数锂元素。据报道,生产1t金属锂将产生10~40t锂渣。截至2023年,中国锂渣的累计存量已高达2亿t。浸出后的锂渣含各种化学药剂,露天堆放和填埋会对周边环境造成严重的危害。因而锂渣的资源化利用不仅有助于中国锂材料的健康持续发展,还对构建环境友好型社会具有重要的意义。
目前,锂渣的资源化利用途径主要包括两种方法:一种是基于锂渣具有良好的火山灰活性,将其用作混凝土掺合料。锂渣具有含量丰富的无定形SiO₂和Al₂O₃,在碱性环境下能和Ca²⁺发生水化反应,生成C-S-H凝胶及水化铝酸钙。此外,水化期间锂渣中的SO₄²⁻能与Ca²⁺反应,生成水化硫铝酸钙晶相填充在混凝土孔隙中,提高了制品的致密度与强度。然而,目前生产企业普遍采用食盐压煮法浸取锂云母矿中的锂元素,导致锂渣含少量的钠盐,这些钠盐不仅导致制品在服役期间表面泛霜,影响使用寿命,还会腐蚀混凝土中的钢筋。另一种方法是以锂渣为原料制备陶瓷砖制品,如刘晓莉等发现,锂渣适用于作为陶瓷制品的原料,这是因为其化学成分与釉面砖坯料相似。当锂渣掺入量为40%(质量分数)时,产品强度能满足GB/T 4100—2015《陶瓷砖》的要求。然而,锂渣中少量的Fe₂O₃和TiO₂组分会影响陶瓷制品的白度,使颜色发黑偏暗,影响外表美观。
普通硅酸盐水泥是一种以C₃S和C₂S为主晶相的凝胶材料。C₃S晶体具有较大的空穴,因此该物相的晶体结构相对疏松,能固溶较多的Al³⁺、Fe³⁺与Mg²⁺等离子形成阿利特。如任雪红研究发现,Al³⁺与Mg²⁺在高温条件下固溶于C₃S相,导致空位缺陷生成,赋予C₃S良好的早期水化活性。相比C₃S,C₂S晶体的结构较致密,但也能固溶少量Al³⁺、Fe³⁺与Mg²⁺形成贝利特。如MANZANO等利用密度泛函模拟研究了Mg²⁺、Al³⁺和Fe³⁺掺杂对水泥硅酸盐相的影响,发现Mg²⁺、Al³⁺和Fe³⁺能随机取代C₃S和C₂S中的Ca²⁺,使晶体中的[SiO₄]结构及Ca-O键的配位数发生变化,物相的水化活性得到提高。特别是Al³⁺固溶能形成高活性的Al-O键,赋予熟料较快的水化速率。目前,已有较多的文献记载了Al³⁺固溶活化硅酸盐水泥熟料的机理;但以工业废弃物—锂渣为添加剂制备硅酸盐水泥熟料尚未有文献报道,也没有文献记载锂渣对熟料结构与性能的影响规律。基于此,本研究以锂渣为添加剂,制备了硅酸盐水泥熟料,分析了锂渣对水泥熟料相组成、微观结构和水化特性的影响规律。
1 实验部分
1.1 样品制备
以某冶炼厂排放的锂渣为添加剂,以某水泥厂的生料为主要原料,水泥生料及锂渣的化学组成如表1所示。由表1可以看出,锂渣主要成分为SiO2与Al2O3,此外还含少量CaO、Na2O与TiO2。Na2O与TiO2等氧化物有望降低水泥熟料的烧制温度。经筛分发现锂渣的粒度较细,粒径小于0.074mm的颗粒质量分数高达85.21%。
表1 原料的化学组成 %

1.2 实验方法
将水泥生料与锂渣用陶瓷衬球磨机按比例混合均匀,掺入少量水,以10MPa的压强制备出尺寸为Φ50mm×30mm的生坯。烘干后高温煅烧,取出迅速空冷至室温,制得水泥熟料。将上述熟料粉碎,与4%(质量分数)的石膏混匀,得到硅酸盐水泥。为评价熟料的水化特性,在水灰质量比为0.4条件下制成砂浆,养护不同期龄后进行强度测试与结构表征。
1.3 结构与性能分析
用Advanced型X射线荧光光谱仪(XRF)检测原料的化学组成;按JC/T735-2005《水泥生料易烧性试验方法》测试熟料中游离态CaO的含量;用D/MAX-I型X射线衍射仪(XRD)分析样品的物相组成;采用Nova9850型压汞仪表征试样的孔结构;采用JEM-5610型扫描电子显微镜(SEM)分析样品的微观形貌;采用UltimExtreme型能谱仪测试样品的微区成分;采用8600型同步热分析仪(TG-DSC)测试生料中石灰石的分解温度,升温速度为8℃/min;根据GB/T17671-2021《水泥胶砂强度检验方法(ISO法)》,用万能试验机测试胶砂试样的抗压强度。
2 结果与分析
2.1 锂渣对石灰石分解温度的影响
为探究锂渣对生料中石灰石分解温度的影响规律,分析了不同样品的DSC曲线,结果见图1。由图1可知,所有试样在750~820℃出现了明显的CaCO3分解吸热峰。在810℃时,空白试样中的CaCO3开始分解,生成CO2气体。随着锂渣掺量的增加,CaCO3的分解温度逐渐降低。当锂渣的掺量分别为1%、3%、5%时,CaCO3的分解温度分别降至796、785、772℃。这是因为锂渣的孔隙结构发达、比表面积大,掺入锂渣有助于生料坯内部CO2气体的逸出,能显著降低试样内部CO2气体的浓度,进而可促进CaCO3分解。

图1 不同生料试样中石灰石的分解温度
2.2 锂渣对生料易烧性的影响
为探究锂渣对生料易烧性的影响规律,检测了不同熟料试样的f-CaO含量,结果如图2所示。由图2可知,随烧成温度的升高,f-CaO的含量逐渐降低,这是因为提高烧成温度,降低了液相的黏度,加速了CaO与C2S溶入液相,促进了C3S析出。由图2还可看出,掺入锂渣有助于降低f-CaO的含量。经1320℃烧成的空白样品f-CaO质量分数为4.53%。掺入1%、3%、5%锂渣后,f-Ca0的质量分数分别降至2.51%、1.23%、0.90%。这是由于锂渣含较多K20与Na2O组分,这些碱性氧化物能与SiO2反应,生成低黏度液相。此外,少量Ti4+的溶入也能使液相的黏度降低。低黏度液相的生成促进了CaO溶解,加速了Ca2+在液相中扩散生成C3S相;低黏度液相的生成还有助于C12A7吸收Ca2+生成C3A相。因此,适当提高锂渣的掺入量能显著改善生料的易烧性。

图2 经不同温度烧成熟料的f-CaO含量
2.3 锂渣对熟料相组成的影响
图3是不同水泥生料煅烧后的XRD谱图。

图3 不同熟料试样的XRD谱图
由图3可见,所有熟料的主要物相均为C3S与C2S,此外还有少量的C3A与C4AF相。图3还表明,空白样品中出现了微弱的CaO与C12A7衍射峰。掺入1%锂渣后,C3S相衍射峰的强度逐渐增加。这是因为Na2O、K2O与TiO2组分能在高温条件下溶入富硅液相并降低其黏度,进而可加快CaO的溶解及Ca2+迁移,促进CaO与C2S反应生成C3S。C3S是硅酸盐水泥熟料的主要矿物,是胶砂试样28d强度的主要来源,因此锂渣的掺入有望提高水泥制品的28d强度。事实上,Ca2+迁移速率的加快也能促进其与C12A7反应,生成高水化活性的C3A。故随锂渣的掺入,CaO和C12A7相的衍射峰强度逐渐下降,C3A的衍射峰强度逐渐增加,这与图2的结果相符合。有研究报道,Si4+和Al3+的结构性差异因子较为接近,因此Al3+能取代Si4+固溶于以C3S和C2S为代表的硅酸盐相,使上述物相晶格畸变,水化活性提高。由图3可见,C3S和C2S相的衍射峰相互重叠,影响了结果的分析。
为明晰锂渣对C3S和C2S相结构的影响,笔者将锂渣分别与C3S和C2S粉末混合,高温煅烧后进行XRD检测,结果如图4所示。由图4a可见,C3S空白样品纯度高,未含其他杂相。掺入1%锂渣后,C3S的晶型未发生变化,且未发现有新相生成;但在2θ为32°~33°处观察到C3S衍射峰逐渐向小角度偏移,表明锂渣的掺入导致C3S相晶面间距增大。其原因是A13+的半径(0.50Å)略大于Si4+(0.41Å),其取代Si4+增大了C3S晶体晶胞尺寸,赋予其更佳的水化活性。图4b也呈现类似的规律,表明锂渣的掺入能使C2S中的[SiO4]晶格膨胀变形,晶面间距增大,水化活性提高。

图4 锂渣对硅酸盐相相组成的影响
根据外来离子进入晶体的不同部位可分为置换固溶和间隙固溶。水泥熟料中的Ca2+和Si4+半径值较大,其值分别高达0.99Å和0.41Å。这导致C3S和C2S晶体结构较为紧密,外来离子难以嵌入晶体间隙,故Al3+、Zn2+与Cu2+等离子主要通过置换取代的方式进入硅酸盐相晶体的内部。外来离子与晶胞离子间的半径和价态的差异是影响取代效果的重要因素,通过计算结构性差异因子D与离子半径相对差值∆r评价外来离子取代晶胞离子的难易程度。通常∆r值越小,取代固溶就越容易;当∆r超过30%,取代固溶难以实现。基于此,根据有关文献所述的方法,分别计算了Al3+与Ca2+、Al3+与Si4+的D值和∆r值,相关结果见图5。由图5可得,Al3+与Ca2+、Al3+与Si4+的D值分别为0.49、0.22,说明相比Ca2+,Al3+更倾向取代Si4+固溶于C3S和C2S。∆r值的计算结果也表明,Al3+的半径更接近Si4+。综合上述分析认为Al3+更容易取代C3S和C2S中的Si4+。

图5 Al3+分别与Ca2+、Si4+的D值和∆r值
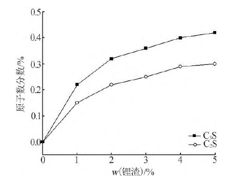
图6为经1320℃烧成熟料的SEM图及EDS谱图,图7为C3S和C2S颗粒中Al3+的固溶量。由图6a可知,空白样品中,C3S(点1处)和C2S(点2处)晶粒的尺寸为5~10μm。掺入3%锂渣后,C3S晶粒(点3处)与C2S晶粒(点4处)逐渐发育至15~20μm。结果表明锂渣的掺入促进了C3S和C2S相的生长。这是由于锂渣中的K2O、Na2O和少量的TiO2可起到助溶作用,生成的低黏度液相促进了C3S和C2S晶粒的生长。当锂渣掺入量增加至5%时,C3S和C2S晶粒进一步生长至18~28μm。图6还表明,空白试样中的C3S(点1处)和C2S相(点2处)几乎不含其他杂质元素。掺入3%锂渣后,在C3S(颗粒(点3处)和C2S颗粒(点4处)探测到少量A1与Ti元素,这是因为Al3+能固溶上述物相,赋予其良好的水化活性Ti4+也能进入硅酸盐相晶胞,使熟料的水化活性得以改善。如图6h~6i与图7所示,随着锂渣掺量的增加,上述现象更加显著,这进一步改善了熟料的水化活性。实验结果与图3~4相互印证。

图6 不同熟料试样的SEM图及EDS谱图

图7 硅酸盐相中Al3+的固溶量

图8 不同硅酸盐相的Ca/Si、Ca/(Si+Al)的原子数比
为进一步研究Al*在硅酸盐相中的固溶机理,采用电子探针探测了多个C3S和C2S晶粒的元素原子数分数,经计算得到Ca/(Si+Al)及Ca/Si的原子数比,结果如图8所示。由图8a可见,锂渣的掺入对C3S的Ca/(Si+Al)值影响不明显,但显著提高了Ca/Si值。在空白试样中,C3S的Ca/Si值趋于3.0,这接近该物相的化学计量比。掺入1%锂渣后,Ca/Si值升至3.3。当锂渣的掺入量增至5%时,C3S的Ca/Si值进一步升至3.9。如图5所示,相比Ca2+,A13+与Si4+的D值和△r值小,因此A13+更容易取代Si4+固溶于C3S,这减少了C3S中Si4+的含量。故随锂渣的掺入,C3S的Ca/Si值逐渐增大,而Ca/(Si+Al)值始终趋于稳定。在图8b中也观察到类似现象,说明A13+也能取代C2S中的Si4+。
2.4 锂渣对熟料水化特性的影响
将熟料与4%(质量分数)石膏混匀,再按水灰质量比为0.4制成砂浆,养护3、28、90d后测试抗压强度。图9是不同期龄胶砂试样的抗压强度随锂渣掺入量变化的关系曲线。由图9可看出,随养护龄期的延长,试样的抗压强度呈逐渐上升的趋势。图9还表明,锂渣的掺入能显著改善试样的抗压强度。空白样品养护3、28、90d后,抗压强度分别为25.12、44.24、57.25MPa。掺入5%锂渣后,样品的抗压强度升至38.16、58.35、75.61MPa。如图2、4与图5所示,锂渣的掺入促进了C12A7吸收Ca2+生成C3A,这显著提高了胶砂试样的3d抗压强度。事实上,锂渣的掺入还可使部分Al3+固溶提高C3S与C2S的水化活性。因此,胶砂试样的28d与90d抗压强度随锂渣的掺入显著提升。

图9 胶砂试样不同期龄的抗压强度随锂渣掺入量变化的关系曲线
胶砂试样的抗压强度与其孔结构参数密切相关。水泥制品的气孔根据尺寸分凝胶孔(<20nm)、少害孔(20~<50nm)、有害孔(50~200nm)和多害孔(>200nm)]。随水化反应的进行,水化产品变丰富,其填充在孔隙导致样品的孔径逐渐减小,制品的致密度和抗压强度则随之增大。本研究采用压汞仪测试了养护90d后胶砂样品的孔结构,结果见表2。图10是不同类型气孔的含量随锂渣掺入量变化的关系曲线。
表2 不同胶砂制品的孔结构参数


图10 不同尺寸孔的含量随锂渣掺入量变化的关系曲线
由表2可知,空白试样的孔隙率高达22.23%,锂渣掺入后试样的孔隙率逐渐下降。当锂渣的掺入量为1%、3%与5%时,试样的孔隙率分别降至20.96%、17.11%与15.26%,胶砂样品的孔隙率受熟料相组成的影响显著。如图3~5所示,掺入锂渣不但促进了C3A和C3S的合成,还诱导Al3+固溶提高C3S和C2S的水化性能,因此锂渣的掺入改善了熟料的水化性能,使胶砂样品的结构变密实。水化产物填充在制品的孔隙,进而调控孔结构。随着锂渣的掺入,熟料的水化活性逐渐提高,水化产物愈加丰富,这减少了孔径相对较大的有害孔和多害孔的数量,改善了样品的致密度,导致孔径逐渐变细。因此,在图10中观察到,随锂渣掺入量的增加,样品中多害孔的比例逐渐下降,而凝胶孔和少害孔比例逐渐增加,结果和图9的变化规律相一致。
3 结论
本研究制备了锂渣掺杂的硅酸盐水泥熟料,研究了锂渣的掺入量对生料易烧性及熟料相组成与微观结构的影响规律,探讨了Al3+固溶活化C3S与C2S水化活性的机理,分析了锂渣掺杂的硅酸盐水泥熟料的水化特性,得到如下结论。
1)锂渣的掺入促进了生料的烧成,改善了硅酸盐水泥熟料的质量。首先,锂渣的掺入降低了液相黏度,促进了CaO的溶解及C3S和C3A的合成。当锂渣的掺入量为5%时,熟料中f-CaO的质量分数降至0.90%。其次,相比Ca2+,Al3+与Si4+的半径更接近,因此,锂渣中的Al3+能取代Si4+固溶于C3S与C2S,使熟料水化活性提高。
2)锂渣的掺入显著改善胶砂试样的抗压强度,提高样品的致密度。未掺锂渣的样品养护3、28、90d后,抗压强度分别为25.12、44.24、57.25MPa。掺入5%锂渣后,样品的抗压强度升至38.16、58.35、75.61MPa。随着锂渣的掺入,样品结构变致密,多害孔与有害孔的数量逐渐下降。