矿冶集团谢胜杰工程设计团队:振动筛与钢泵池集成化设计在选矿工艺中的应用与优化
来源:矿冶集团信息研究中心 时间:2026/1/8 16:25:43

为精准掌握振动筛复合钢泵池系统的受力特征与动力响应规律,解决传统设计中动力荷载简化导致的结构安全隐患问题,优化选矿工艺配置的合理性与经济性,以刚果某选矿设备改造提升项目为工程背景,采用MIDASGEN有限元软件建立系统精细化模型,模拟振动筛在水平、竖向耦合振动荷载作用下的动力传递机制。通过数值仿真与参数分析,系统探究支撑结构在稳态振动下的内力分布、变形规律,重点分析支座加劲肋设置形式、翼缘板及肋板厚度对结构承载性能、振动响应的影响,并通过对比未加端板与加端板支座的力学性能差异,明确结构优化关键控制点。研究结果表明,振动筛复合钢泵池一体化设计可使工艺流程紧凑度提升30%以上,显著降低振动对操作环境的影响;所建立的有限元设计方法能精准捕捉结构薄弱环节(支座部位),优化后的支座参数(翼缘板24mm+肋板18mm+端板加固)可使支座总变形减小51.9%、振动变形减小39.1%,有效规避应力集中与疲劳破坏风险。该研究提出的设计方法与优化方案兼具科学性与工程实用性,为选矿领域同类系统的高效设计与安全运行提供了重要技术支撑。相关成果发表于矿冶期刊群《有色金属(选矿部分)》2025年第11期。题目:振动筛与钢泵池集成化设计在选矿工艺中的应用与优化。作者:谢胜杰,米夏夏,李浩,胡贵生,孟圆。

1.jpg

扫码下载文章 



研究背景

在矿山、冶金、电力及建材等行业的生产流程中,直线激振式振动筛作为关键分选设备应用广泛,其筛面振幅与振动方向直接决定作业效率与分离精度。不同类型振动筛因振动方式存在差异,形成了独特的筛面运动轨迹,适配的选矿工艺场景也各不相同。例如,破碎筛分阶段多采用圆振动筛或惯性振动筛,磨矿分级阶段则以直线振动筛为主。振动筛的动力响应特性主要受激振力方向、偏振块质量与回转半径、弹簧刚度等核心参数调控,其核心功能是依据矿石粒度实现物料分级分离,几乎贯穿所有选矿生产线的关键环节。尤其在重介质选矿工艺中,直线振动筛承担着矿石与分选介质高效分离的核心任务,直接影响后续工艺的运行稳定性。

振动筛通过支撑结构与基础相连,工作时产生的振动会引发支撑结构的动力响应。该响应可通过专业仪器测量,进而判断其是否对周边环境及作业人员造成不利影响。支撑结构设计是工业与民用建筑设计的重要组成部分,也是工业设计工程师面临的常见技术难题。以往研究多聚焦于转速等外部因素对支撑结构的影响,却忽视了结构自身的力学性能;而RAMATSETSE等的研究证实,基座尺寸不合理或结构设计缺陷会导致结构与设备性能严重失效。由于振动筛属于动力设备,其支撑结构需采用动力设计方法,且支撑结构的弹簧刚度对直线筛动态特性影响显著。常规设计中,工程人员常将动力响应简化为静力荷载进行分析,难以真实反映支撑结构的动力特性,存在一定设计局限性。

为系统探究振动筛支撑结构的受力特征与动力响应规律,本文以刚果某选矿设备改造提升项目中的振动筛复合钢泵池系统为研究载体,结合其在选矿流程中的实际应用场景,采用MIDASGEN有限元软件构建支撑结构精细化模型,对系统运行过程中承受的动力作用展开针对性分析。研究旨在建立一套简便、精确且实用的有限元设计方法,为振动筛复合钢泵池系统的合理化设计提供技术支撑。



1 振动筛复合钢泵池系统的特点和应用

振动筛在选矿工程中应用广泛,其通过特定轨迹做往复运动,筛面的连续振动使物料不断被抛起、松散并分离,最终实现分级或脱介目标。振动筛运行时产生的振动经支座传递至支撑平台,部分振动传递至基础,其余则引发平台自身振动,该振动即为平台的动力响应。

影响振动筛筛分效率的关键因素包括颗粒形状、矿浆浓度比、筛体振动频率、振动方向角及矿物入料速率等。图1为某项目选矿半自磨工艺配置图,由图1可知,振动筛与泵池的联动关系:半自磨机排矿经排矿漏斗进入直线振动筛,筛上产品(即顽石)返回半自磨机重新给料,筛下产品直接落入下方泵池。泵池底部设有两个渣浆泵管道接口及排空口,内部矿浆通过渣浆泵输送至下一工艺环节;且泵池液位采用自动控制调节,系统稳定运行后,内部矿浆容量保持基本恒定。

2.png

图1 选矿工艺流程的配置图

图1为刚果某选矿设备改造提升项目的选矿半自磨工艺配置图,振动筛直接支撑于下方钢泵池之上,形成一体化的振动筛复合钢泵池系统。该系统中,除振动筛本体外,其余承载与连接部件统称为振动筛支撑结构。振动筛工作时产生的振动会引发支撑结构的动力响应,而工程实践表明,通过调节泵池内矿浆浓度、矿物粒度及相连渣浆泵流速等参数,可针对性调控支撑结构的动力响应强度,有效降低振动设备对操作人员及工作环境的不利影响。相较于振动筛与泵池独立设置的传统模式,该复合系统不仅使工艺流程更紧密流畅,还省去了单独的振动筛支撑结构,显著优化了空间布局与工程成本。

在选矿工艺配置设计中,振动筛复合钢泵池系统的核心应用场景为原矿磨矿环节,如图2所示,磨矿泵池与振动筛即可采用此类一体化设计。此外,在重介质选矿工艺流程中,脱水脱介振动筛与钢泵池的组合也可适配该系统配置,具备广泛的工艺适配性。

3.png

图2 选矿流程中的振动筛复合钢泵池系统

选矿工艺流程设计中,不同工艺阶段需适配不同类型的振动筛:破碎筛分阶段以圆振动筛或惯性振动筛为主,磨矿分级阶段则优先选用直线振动筛。此外,中北大学研发的新型倾斜筛网式振动筛分装置,其运动轨迹与常规直线振动筛存在差异,但无论何种类型的振动筛,其作用于支撑点的动力响应均能分解为沿空间坐标轴方向的周期性振动荷载,这为支撑结构的统一化动力分析提供了理论基础。

2 振动筛支撑结构


2.1 受力形式

振动筛支撑结构位于振动筛的下方,振动筛将其支座上的动力响应通过支座作用在振动筛支撑结构上。受力(动力响应)形式主要有以下三类。

1)竖向振动:当竖向激振力作用在支撑结构重心上时,支撑结构会产生竖向振动,如图3(a)所示。

2)横摆振动:当扭转力矩绕支撑结构竖向z轴作用时,支撑结构会产生横摆振动,如图3(b)所示。

3)耦合振动:当竖向偏心激振力和水平激振力同时作用在支撑结构上时,支撑结构会产生俯仰或侧倾和平动的耦合振动,如图3(c)、3(d)所示。

4.png

图3 振动筛支撑结构受力(振动)形式

当振动筛工作时,站在支撑结构上的操作人员会感觉到明显的振感。同时,持续的振动会造成支撑结构疲劳损坏。振动筛设备运行状态下,振动筛支撑结构的加速度及速度响应应进行测试,确保操作人员的安全和舒适,测试结果应符合《建筑工程容许振动标准》GB50868—2013的要求。一般支撑结构的容许振速峰值为10mm/s、加速度限值为1.0m/s²。


2.2 结构设计

2.2.1 设计原则

振动筛支撑结构设计可依据《动力机器基础设计标准》。支撑结构作为振动筛的支撑,在振动荷载作用下,应满足承载能力的要求、容许振动的要求;人员舒适度和设备正常工作的要求。当支撑结构的振动不满足人员健康、生产过程、仪器设备正常的容许振动标准及影响建筑物的长期使用寿命时,应采用隔振措施。

2.2.2 传统设计方法

振动筛支撑结构在常规设计中通常按设备基础标准执行:第一步将支座处振动荷载乘以动力系数转化为静力荷载输入,开展静力分析计算;第二步通过调整支撑结构刚度,规避振动筛共振周期。但常规设计未考虑支撑平台的舒适度要求,且未进行动力响应分析,存在结构安全隐患,难以适配当前工程需求。

随着振动筛功能升级与工艺技术创新,支撑结构的动力响应控制及舒适度要求日益提高,动力响应分析与受力特性分析已成为设计核心环节,传统简化静力计算方法已无法满足现行设计标准及工艺要求。为精准剖析振动筛复合钢泵池系统的动力特征,本项目拟采用通用有限元软件MIDAS GEN建立系统整体模型,重点完成支撑结构的动力响应及受力特性分析,确保设计的安全性、合理性与适用性。

2.2.3 动力设计方法

振动筛复合钢泵池系统的结构动力学方程为:

5.png

式中,M为钢泵池系统质量矩阵;C为系统阻尼矩阵;K为系统刚度矩阵;x为结构位移列阵;Ft)为荷载列阵。

系统经简化后,振动筛复合钢泵池系统的无阻尼振动方程为:

6.png

常微分方程解为:

7.png

式中,X为振动筛复合钢泵池系统的振幅列阵;ω为系统固有频率;α为系统初始相位。将式(3)代入式(2)中,可得:

8.png

求解上述矩阵可得,振动筛复合钢泵池系统的固有频率为:

9.png

应用MIDAS GEN有限元分析软件建立振动筛支撑结构的模型,将振动筛产生的动力荷载施加支撑结构上进行动力分析,找到支撑结构的自振周期、应力;观察支撑结构在动力荷载下的动力响应、位移,找到支撑结构的薄弱部位。计算得到支撑结构的内力、应力、位移、速度、加速度等设计指标和舒适度指标;研究分析这些设计指标,判断振动筛支撑结构是否满足安全、舒适、环保要求。

振动筛工作时,振动筛支座YZ方向会产生周期性振动力,通过设置时程函数来模拟振动筛单向振动作用。选矿半自磨工艺配置中的振动筛复合钢泵池系统处理量为312t/h矿粉,其直线振动筛YZ方向的时程荷载函数如图4、5所示。

10.png

图4 单振筛出料端水平作用

11.png

图5 单振筛出料端竖直作用

2.2.4 动力分析结果

有限元计算完成后,振动筛支撑结构的受力、变形及速度、加速度等动力响应指标如图6所示。基于上述计算结果,重点分析支撑结构的受力特征与舒适度达标情况,精准定位结构薄弱部位,为后续优化设计提供数据支撑。

12.png

图6 振动筛支撑结构空间模型及受力特征

支撑结构计算结果如表1所示。由表1可知,在动力荷载作用下,支座处的应力、变形及动力响应均较为显著。振动筛的振动主要通过支撑结构的支座传递,因此支座动力响应突出,为整个支撑结构的薄弱部位。

表1 振动筛支撑结构计算结果

13.png

表2 动力设计参数限值

14.png

2.2.5 振动筛支撑结构的性能指标

舒适度、健康与绿色环保已成为矿山行业的未来发展趋势。常见支撑结构的动力设计参数限值如表2所示:对于一般建筑物,当振动加速度达到1m/s²时,易引发人体不适,进而影响身体健康。

针对振动筛支撑结构,若其为不上人或上人频次较低的场景,动力响应指标可适当放宽,但需控制在表2规定限值的两倍以内,确保满足基础安全与使用要求。若支撑结构动力响应未达设计要求,需通过调整结构刚度与质量优化设计,同时在振动筛与支撑结构的连接节点(支座)处增设减振垫、减振螺栓等消能减震装置,确保支撑结构动力响应满足舒适度标准。动力响应检测拟采用DH5908动态信号测试分析系统,该系统由笔记本电脑、数据采集器及磁电式振动传感器组成。

鉴于支座直接承受振动筛传递的动力荷载,并将其传导至整个支撑结构,因此本项目除完成支撑结构动力分析外,还将重点开展支座设计优化工作,进一步提升结构整体稳定性与适用性。



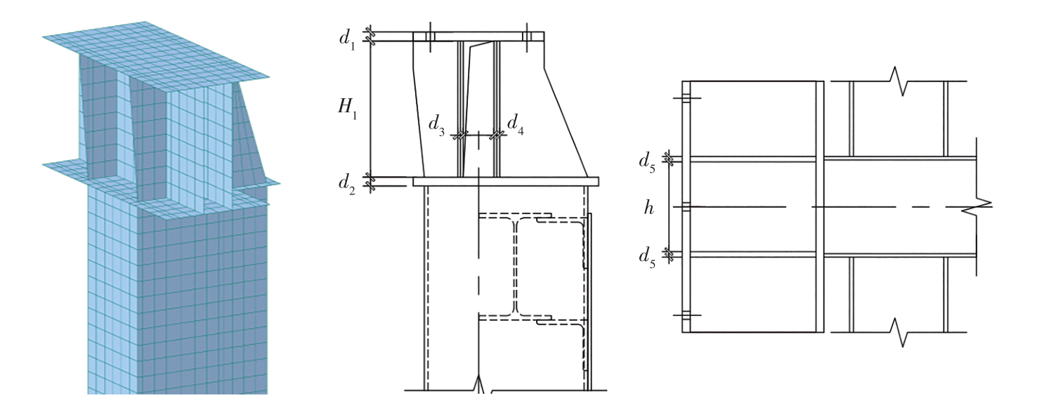
3 振动筛支座设计

采用MIDASGEN软件对振动筛支座开展精准有限元分析,系统研究其受力特征。支座模型详如图7所示,分析时按图4、5所示参数输入动力荷载,重点从支座板件厚度与支座结构形式两方面进行针对性考察,为后续设计优化提供技术支撑。

15.png

图7 振动筛支座有限元模型


3.1 支座板件厚度

建立不同肋板厚度的振动筛支座模型,确定支座翼缘板和肋板的最佳厚度。支座各个构件尺寸如表3所示。

表3 振动筛支座有限元模型尺寸

16.png

对振动筛支座进行精细有限元分析,可以得到相同工况下不同翼缘板厚度和不同肋板厚度的支座模型的动力响应和变形结果,如表4所示。

表4 振动筛支座有限元模拟结果

17.png

支座的应力变形及振动效应变化趋势如图8、9所示。

18.png

图8 不同翼缘板厚度下应力变形及振动效应变化趋势

19.png

图9 不同肋板厚度下应力变形及振动效应变化趋势

从不同翼缘板厚度和不同肋板厚度的振动筛支座的有限元模拟结果可以看出,在不改变其他条件的情况下,翼缘板厚度越大,支座的峰值应力越小,总变形也越小。从振动效应上面来看,随着翼缘板厚度增大,支座的振动变形和动力响应总体上也是逐渐减小的,其中在翼缘板厚度从22mm变为24mm的过程中,振动变形减小幅度最大,动力响应也相对较小。在不改变其他条件的情况下,肋板厚度越大,支座的峰值应力越小,总变形也越小。但是从振动效应上面来看,随着肋板厚度增大,振动变形和动力响应速度先呈现增大后减小的趋势。从模拟研究中可以得出,翼缘板厚度24mm,肋板厚度18mm是较为理想的支座结构尺寸。


3.2 支座形式

建立未加端板的振动筛支座和加端板的振动筛支座模型,如图10、11所示,支座翼缘板厚24mm,肋板厚16mm,端板厚14mm。

20.png

图10 未加端板的振动筛支座有限元模型

21.png

图11 加端板的振动筛支座有限元模型

对振动筛支座施加来自振动筛的振动荷载(图10、11中的Fx、Fy、Fz)进行精细有限元分析,得到相同工况下的2种支座模型的应力和变形(图12~15)。

22.png

图12 未加端板的振动筛支座应力

23.png

图13 加端板的振动筛支座应力

24.png

图14 未加端板的振动筛支座变形

25.png

图15 加端板的振动筛支座变形

从应力与变形两方面对支座模型展开分析对比,结果如表5所示。无端板振动筛支座存在显著应力集中现象,除螺栓孔区域外,翼缘板边缘为应力集中高发部位,且变形最大区域集中于翼缘板四角;增设端板后,支座受力性能明显改善,尤其在振动往复荷载作用下,应力分布更均匀,未出现局部集中式大变形。

表5 振动筛支座受力和变形特点

26.png

通过数据对比发现,无端板支座总变形为1.04mm,振动变形为1.07×10⁻²mm;加端板后支座总变形降至0.50mm(较无端板状态减小51.9%),振动变形为6.52×10⁻³mm(较无端板状态减小39.1%)。综上,增设端板对优化支座受力状态、减小变形量作用显著,可有效规避应力集中问题及疲劳破坏风险。



4 结论

1)与振动筛、泵池独立设置方案相比,振动筛复合钢泵池体系让工艺流程更紧凑流畅,省去了振动筛的独立支撑结构,显著节约工程造价;同时在一定程度上降低了选矿工程中振动设备对操作人员及工作环境的不利影响。

2)借助MIDAS GEN有限元分析软件构建振动筛支撑结构模型,通过模拟振动筛的动力响应,精准计算支撑结构的内力、应力、位移、速度、加速度等设计指标与舒适度指标,该方法高效精确、实用性强,为支撑结构设计提供了可靠技术支撑。

3)研究结果表明,在振动筛支撑结构的支座处增设端板,可大幅减小支座变形,有效规避应力集中及疲劳破坏风险;对于处理量312t/h矿粉的半自磨振动筛复合钢泵池系统,振动筛支座翼缘板厚度24mm、肋板厚度18mm为较理想的结构尺寸参数。


  • 行业动态

  • 成果展示